OngoingOcean12_Caliper_PLL_test_PCB
STDOcean12_Caliper_PLL_test_PCB
207
0
0
0
Mode:Full
License
:Public Domain
Creation time:2021-05-17 13:45:58Update time:2021-09-07 14:11:03
Description
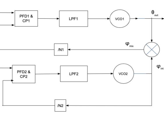
Test PCB for Ocean12 project, Caliper PLL in 28nm FDSOI
Design Drawing
The preview image was not generated, please save it again in the editor.BOM
Bom empty
CloneAdd to Album
0
0
Share
Report
Project Members
Followers0|Likes0
Related projects
Empty


Comment